- Код 12904
-
Бренд
Renesas Electronics Corporation
-
Страна
Китай
- Вес с упаковкой 20 г
- Габариты с упаковкой 10x10x10 см
Описание
IPS2550 – Индуктивная микросхема датчика положения
Описание:
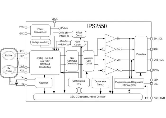
IPS2550 — это автомобильный индуктивный датчик положения, сертифицированный по AEC-Q100 Grade 0, способный определять абсолютное положение ротора с аналоговыми выходами синуса и косинуса.
Принцип работы основан на вихревых токах, возникающих при движении металлической мишени над набором катушек, состоящих из одного передатчика и двух приёмников.
Выходной интерфейс может быть настроен как однотактный (single-ended) — для снижения стоимости системы, или дифференциальный — для лучшего подавления общих помех.
Датчик поддерживает коммутацию высокоскоростных двигателей до 600 000 об/мин (электрически) и предназначен для использования в автомобильных системах с высокими требованиями к функциональной безопасности (ISO 26262 до ASIL-C/D).
Благодаря высокой помехоустойчивости к магнитным полям, малым габаритам, низкому весу и оптимизированной элементной базе, IPS2550 является ключевым элементом концепции Resolver 4.0, предлагая современное решение для точного бесконтактного позиционирования.
Основные характеристики
-
Интерфейс: Sin/Cos (однотактный или дифференциальный)
-
Автомобильная квалификация: AEC-Q100 Grade 0
-
Функциональная безопасность: ISO 26262 до уровня ASIL-C (D)
-
Диапазон температур: от -40 °C до +160 °C (окружающая среда)
-
Напряжение питания:
-
3.3 В ±10%
-
5.0 В ±10%
-
-
Скорость вращения: до 600 000 об/мин (электрически)
-
Задержка распространения: менее 5 мкс
-
Компенсация: несоответствия усилений и смещения синус/косинус
-
Защита: от перенапряжения, переполюсовки и короткого замыкания
-
Интерфейс программирования: I²C
-
Корпус: 16-выводной TSSOP с теплоотводящей площадкой (exposed pad)
-
Встроенная автоматическая регулировка усиления (AGC) для компенсации изменений окружающей среды
Электрические и механические параметры
| Параметр | Значение |
| Функция | Датчик положения |
| Напряжение питания (В) | 3.0–3.6 или 4.5–5.5 |
| Интерфейс | Sin/Cos |
| Температурный диапазон | -40 °C … +160 °C |
| Корпус | 16-TSSOP с теплоотводящей площадкой |
Преимущества
-
Автомобильная надёжность и безопасность (ASIL-C/D)
-
Работа при высокой температуре (до 160 °C)
-
Подходит для сверхскоростных двигателей (до 600 000 об/мин)
-
Иммунитет к внешним магнитным полям (Stray Field Immunity)
-
Компактный, лёгкий, без магнитов
-
Автоматическая регулировка усиления (AGC) для стабильной работы в любых условиях
Применение
-
Датчик положения ротора для автомобильных BLDC-двигателей
-
Замена резольверов (без магнитов и с меньшим весом)
-
Электроприводы, рулевые системы (EPS), насосы, вентиляторы
-
Высокоскоростная коммутация двигателей
-
Системы с требованиями функциональной безопасности ISO 26262

